金莎9001zz以诚为本

官网升级,资料录入中……如遇资料缺失请联系热线
4008-600-979
SRM
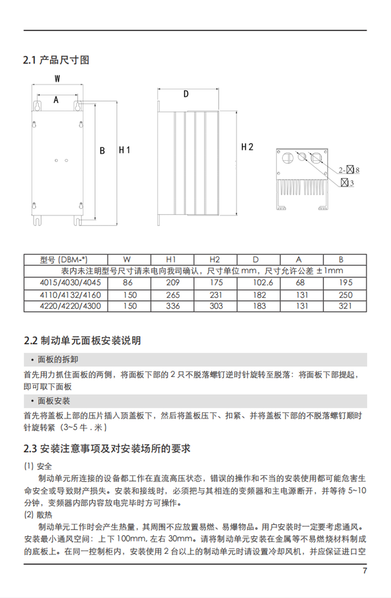
DBMS系列制动单元

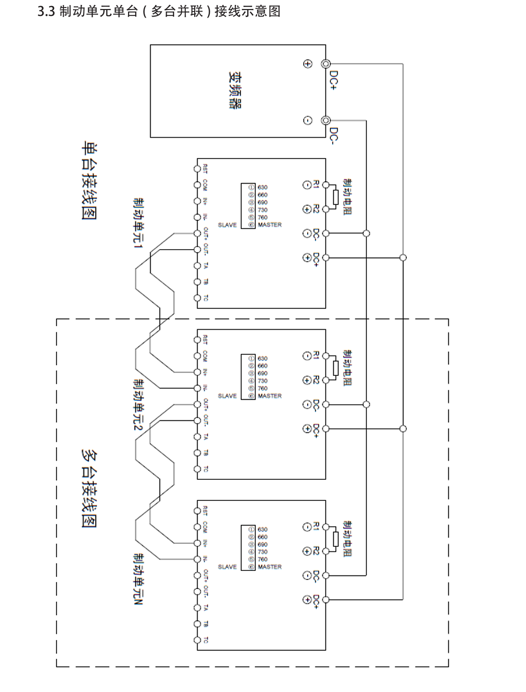
DBMS系列制动单元的作用是将电机在减速的过程中产生的再生能量,以热能的形式消耗在制动电阻上,以产生足够的制动转矩,从而改善变频器的制动性能及缩短变频器的制动时间。

CA88官网 Vsport 老子有钱lzyq88